
全國咨詢熱線
15102273799

|
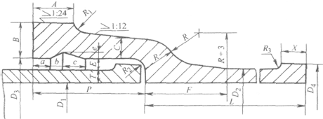
公稱口徑
DN/mm |
各部尺寸/mm | |||
|
a |
b |
c |
e | |
|
75~450 |
15 |
10 |
20 |
6 |
|
500以上 |
18 |
12 |
25 |
7 |
|
公稱口徑
DN/mm |
壁厚/mm |
內徑/mm |
外徑
D2/mm |
有效長度/mm |
承口凸部質量
/kg |
插口凸部質量
/kg |
直部1m質量
/kg | ||||||
|
T |
D1 |
5000 |
6000 | ||||||||||
|
總質量/kg | |||||||||||||
|
P級 |
G級 |
P級 |
G級 |
P級 |
G級 |
P級 |
G級 |
P級 |
G級 | ||||
|
200 |
8.8 |
10.0 |
202.4 |
200 |
220.0 |
227.0 |
254.0 |
|
|
16.30 |
0.382 |
42.0 |
47.5 |
|
250 |
9.5 |
10.8 |
252.6 |
250 |
271.6 |
303.0 |
340.0 |
|
|
21.30 |
0.626 |
56.3 |
63.7 |
|
300 |
10.0 |
11.4 |
302.8 |
300 |
322.8 |
381.0 |
428.0 |
452.0 |
590.0 |
26.10 |
0.741 |
70.8 |
80.3 |
|
350 |
10.8 |
12.0 |
352.4 |
350 |
374.0 |
|
|
566.0 |
623.0 |
32.60 |
0.857 |
88.7 |
98.3 |
|
400 |
11.5 |
12.8 |
402.6 |
400 |
425.6 |
|
|
687.0 |
757.0 |
39.00 |
1.460 |
107.7 |
119.5 |
|
450 |
12.0 |
13.4 |
452.4 |
450 |
476.8 |
|
|
806.0 |
892.0 |
46.90 |
1.640 |
126.2 |
140.5 |
|
500 |
12.8 |
14.0 |
502.4 |
500 |
528.0 |
|
|
950.0 |
1030.0 |
52.70 |
1.810 |
149.2 |
162.8 |
|
600 |
14.2 |
15.6 |
602.4 |
599.6 |
630.8 |
|
|
1260.0 |
1370.0 |
68.80 |
2.160 |
198.0 |
217.1 |
|
700 |
15.5 |
17.1 |
702.0 |
698.8 |
733.0 |
|
|
1600.0 |
1750.0 |
86.00 |
2.510 |
251.6 |
276.9 |
|
800 |
16.8 |
18.5 |
802.6 |
799.0 |
836.0 |
|
|
1080.0 |
2160.0 |
109.00 |
2.860 |
311.3 |
342.1 |
|
900 |
18.2 |
20.2 |
902.9 |
899.0 |
939.0 |
|
|
2410.0 |
2630.0 |
136.00 |
3.210 |
379.1 |
415.7 |
|
1000 |
20.5 |
22.6 |
1000.0 |
955.8 |
1041.0 |
|
|
3020.0 |
3300.0 |
173.00 |
3.550 |
473.2 |
520.6 |
|
公稱口徑DN/mm |
彎曲度/mm |
|
200~450 |
1.51 |
|
>1500 |
1.251 |
|
公稱口徑DN/mm |
抗彎強度óbbMPa |
|
≤300 |
340 |
|
350~700 |
280 |
|
≥800 |
240 |
|
直管種類 |
公稱口徑DN/mm |
試驗壓力/MPa |
|
P級 |
≤450 |
2.00 |
|
≥500 |
1.50 | |
|
G級 |
≤450 |
2.50 |
|
≥500 |
2.00 |